1 This specification is under the jurisdiction of ASTM Committee A01 on Steel, 3 For referenced ASTM standards, visit the ASTM website, , or. Oshwin carries a complete line of ASTM A TP Stainless Steel Welded Tubes also in customized size & standard, available in both. What is the difference between ASTM A, A, A, and A Stainless steel tubing.

| Author: | Arashitaxe Kazrasho |
| Country: | Moldova, Republic of |
| Language: | English (Spanish) |
| Genre: | Travel |
| Published (Last): | 5 July 2015 |
| Pages: | 108 |
| PDF File Size: | 14.13 Mb |
| ePub File Size: | 20.61 Mb |
| ISBN: | 453-6-43374-748-7 |
| Downloads: | 14093 |
| Price: | Free* [*Free Regsitration Required] |
| Uploader: | Tashakar |
In order to guarantee these standards, we are certified in accordance with the strict guidelines of ISO Plasma arc welding PAW also is used and often is abbreviated as plasma welding. Within the text, the SI units are shown in brackets.
These comparisons are approximate only.
Difference between ASTM A, A, A, and A Stainless steel tubing
All materials shall be furnished in the heat-treated condition in accordance with the satm solution temperature and quenching method. ASME and ASTM pressure tubing specifications require that either a hydrostatic pressure test or a nondestructive electric test be performed on every length of tubing produced. Historical Version s – view previous versions of standard.
Physical properties of the strip, as well as its chemistry, are specified and controlled tightly axtm ensure a quality tube.
Fenton joined Rath Manufacturing in Both sufficient cold work and proper annealing are necessary to complete the zstm process. Our all ASTM A TP Stainless Steel Welded Tubes are tested in accordance to internationally a49 standards or our own more stringent internal test procedures, which is developed considering the harsh field conditions.
When the final heat treatment is in a continuous furnace, the number of tubes of the same size and from the same heat in a lot shall be determined from the prescribed size of the tubes. This abstract is a brief summary of the referenced standard. All Projects require careful planning to ensure a good result and correct material selection.
Tube – Burst Pressure ASTM A / ASME SA
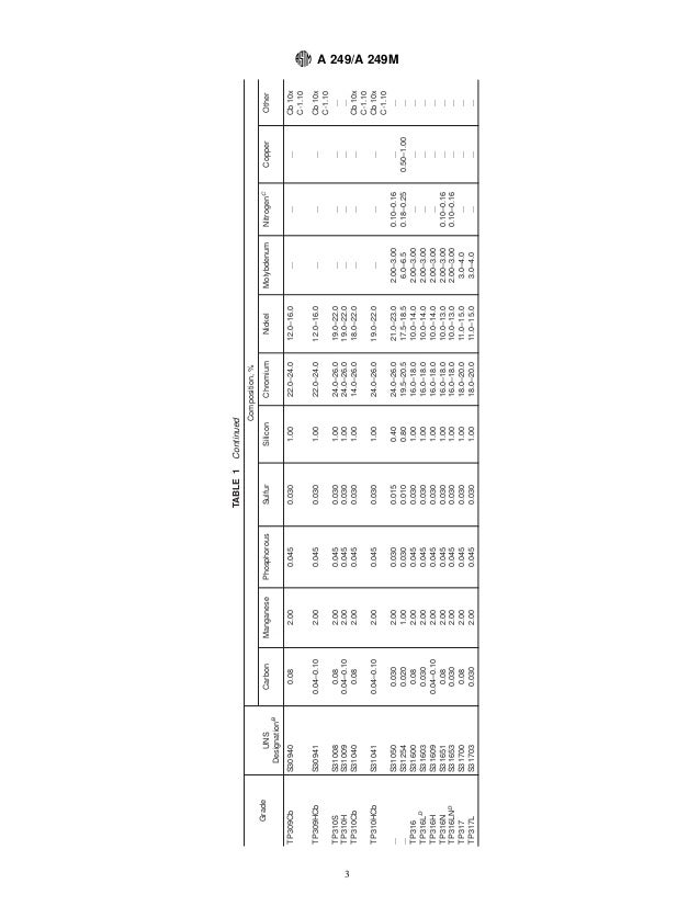
Heat and product analysis shall conform to the requirements as to chemical composition for carbon, manganese, phosphorous, sulfur, silicon, chromium, nickel, molybdenum, nitrogen, copper, and others. Thus a large proportion of A tube used in the Australian market is supplied in the externally polished or buffed conditions, in the range of about -or with a very highly polished Surfacetypically stated as Asgm values stated in each system may not be exact equivalents; therefore, each system shall be used independently of the other.
This standard does not purport to address all of the safety concerns, if any, associated with its use. We accept all small and large quantity orders Contact Us Require our products? It ast, prove uncompetitive against un-annealed tube. Stamper protects copper, aluminum parts with orbital wrapper Automec touchscreen CNC backgauge control allows user to import bend photos Lissmac SBM-XL R1S2 deburring, edge-rounding machine handles thick plates in single pass.
It requires a manufacturing process and a quality system that not only provide an excellent weld, but also condition the weld through proper cold working forging and heat treating annealing processes so that it closely approximates the structure and properties of the base metal.
Annealing is possible if required and Surface finishes can be further specified. The tube has not been forged or annealed.

ASTM does not give any warranty express or implied or make any representation that the contents of this abstract are accurate, complete or up to date. He has a bachelor of science degree in electrical engineering from Kansas State University. GTAW and plasma welding are the most forgiving of the common welding methods and can produce an excellent-quality weld most easily.
Note the as-cast structure of the weld compared to the base material. It is the responsibility of the user of this standard to establish appropriate safety, health, and environmental practices and determine the applicability of regulatory limitations prior to use. For example, the ASTM AS7 weld decay test is considered widely to be a reliable corrosion test, but, in reality, the acid used in the test applies to less than 1 percent of real-life operational environments.
It does specify weld bead removal, but this requirement can be met from other standards, without unnecessarily calling up the stringent mechanical properties of A It is important to remember that each type of corrosion test is designed to give some indication of an alloys or alloy family’s suitability for a specific application environment and that a particular test may not be appropriate to a particular alloy or application.
Aetm grain size of different grades of steel shall be determined in accordance satm the test methods. The comparatively small weld puddle created by laser beam welding makes it difficult to achieve a robust manufacturing process.
We have a full range of expertise for Export Packing. The strip-forming process and weld joint configuration must be very precise, and this often requires strip astmm preparation.

An offline hydrogen atmosphere bright annealer can be used for alloys or specifications that require special anneal cycles. Referenced Documents purchase a2499 The documents listed below are referenced within the subject standard but are not provided as part of the standard.
For example, small additions of sulfur have been known to improve weldability, but excessive amounts may harm the ductility and formability of the product. Our team of project coordinators communicates all relevant facts about inspection, testing and quality control and assures ASTM A TP Stainless Steel Welded Tubes will be supplied against the agreed terms for packaging and transportation.
What to ask before buying a metal additive manufacturing system Die fully sensored and still getting miss-hits? Nondestructive and Mechanical Testing. Only fusion welding processes should be used to produce high-quality stainless, duplex, and nickel-alloy pressure tubing that will be used in demanding or critical applications.
Work done by Atlas Steels indicates that for 1. Single-seam, single- or double- welded austenitic pipe. These required mechanical manipulation tests include flattening a a2499 test for seamless tubeflange, and reverse bend tests see Figure 3.
Producing quality ASTM A249 and ASME SA 249 pressure tubes
In conclusion, making a good-quality pressure tube starts with a well-specified raw material. This requirement addresses the heart of the issue – freedom from sites for product or bacterial build-up. There is also a requirement that the internal Surface be smooth, with no lack of weld penetration and no crevices adjacent to welds. Dimensional inspection is performed online at the mill to ensure conformance to ASTM, ASME, asmt, or customer requirements, a2249 dimensional tolerance of the tube outside diameter ODwall thickness, and length.
Procurement and supply are significant factors contributing to this. Therefore, fabricators and producers should be careful when specifying corrosion testing requirements. In the nondestructive eddy current tests performed at the author’s company, the tube is checked for imperfections and marked with an ink spray where the defect is noted.
All materials can be s249 for shipping by truck, by bulk vessel or container vessel.
